УКХ радіопередавач 38-40 МГц на лампах 6ПЗС, 6Ж8

УКХ радіопередавач 38-40 МГц на лампах 6ПЗС, 6Ж8
Передавач складається з однолампового генератора, зібраного на широко поширеній лампі 6ПЗС, та дволампового модулятора. Як показав досвід, лампа 6ПЗС у цьому діапазоні працює з відносно високим к. п. д.; при анодній напрузі 400 з неї можна зняти близько 15 вт коливальної потужності. Незважаючи на крайню простоту, описуваний передавач має гарні експлуатаційні якості.
За добре узгодженої антени він за дальністю дії не поступається передавачеві, зібраному на спеціальній потужній генераторній лампі ГУ-29.
Прийом роботи цього передавача впевнено фіксується з відривом до 50 км, причому рівень гучності становить 8—9 балів. Недоліком схеми є помітна нестабільність частоти коливань, що генеруються, що втім не виявляється при надрегенерагивном прийомі.
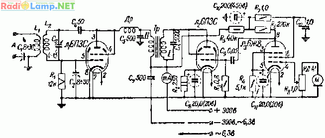
Принципова схема
Принципова схема передавача наведена на рис. 1. Генератор зібраний за схемою з ємнісним зворотним зв'язком, що здійснюється через міжелектродні ємності лампи.
Для полегшення умов самозбудження паралельно ємності сітка – катод підключений конденсатор С3. Коливальний контур утворений котушкою індуктивності L2 та конденсатором змінної ємності С2. Потрібна частота коливань встановлюється з допомогою конденсатора С2.
На опорі R1 створюється з допомогою сіткових струмів необхідне генераторного режиму негативне напруга. Зв'язок з антеною індуктивний і здійснюється за допомогою котушки L1. Конденсатором С1 здійснюється підстроювання антени.

Мал. 1. Принципова схема УКХ радіопередавача 38-40 МГц на лампах 6ПЗС, 6Ж8 (15Вт).
Модулятор є звичайним двокаскадним підсилювачем коливань низької частоти. Каскад попереднього посилення виконаний на пентаді 6Ж8. Потенціометр R8 дозволяє регулювати глибину модуляції.
Для запобігання збудженню модулятора в ньому застосовані фільтри, що розв'язують: R5, С10 (в анодному ланцюгу лампи Л3) і R7, С10 (в ланцюгу екранної сітки). Конденсатор С5 служить для того, щоб частково проникаючі через дросель Др1 високочастотні коливання не потрапляли в модулятор.
За відсутності цього конденсатора неминуче збудження модулятора чи різке погіршення якості модуляції. Розрахований модулятор для роботи з динамічного мікрофона типу МД-41. Модуляція-анодна. здійснюється за допомогою трансформатора Тр.
Деталі та конструкція
Усі деталі передавача, за винятком котушок та дроселя, – заводського виготовлення. Котушка коливального контуру L2 має п'ять витків посрібленого мідного дроту; діаметр котушки 40 мм, довжина - 35 мм.
Котушка зв'язку з антеною L1 виконана з мідного дроту того ж діаметра та складається з 3,5 витка. Для налаштування передавача на необхідну частоту застосований конденсатор підлаштування з повітряним діелектриком, що складається з двох нерухомих і однієї рухомий пластин, укріплених на керамічному підставі.
Конденсатор, пластини якого укріплені на низькоякісному ізоляторі (наприклад, на ебоніті та ін.), тут зовсім непридатний через значні втрати коливальної енергії в поганому діелектриці. Конденсатор С4 має бути тільки керамічним: конденсатор С6 — слюдяним, конденсатор С7 береться на робочу напругу щонайменше 400 в. С3 - підстроювальний конденсатор ємністю до 30 пф.
Опір витоку R1 слід взяти із запасом за потужністю, тобто розрахованим не менш ніж на 5 вт. При меншій розрахунковій потужності можливий його перегрів, що викличе догляд частоти Дросель Др високої частоти намотаний на керамічному підставі опору Камінського; складається з 50 витків дроту типу ПЕШО 0,12. Як каркас можна застосувати будь-яку іншу керамічну основу відповідного діаметра (6-8 мм).
Сердечник модуляційного трансформатора Тр набраний з пластин типу LLI-20, товщина пакета 30 мм, первинна обмотка (включена в анодний ланцюг лампи Л2) містить 4 000 витків дроту ПЕЛ 0,17, вторинна - 2 000 витків того ж дроту. Мілліамперметр застосований зі шкалою до 150-300 ма.
Передавач монтується на кутовому шасі розмірами 215×135×45 мм, розміри лицьової панелі: 234×180 мм. Розміри підібрані так, що як корпус можна використовувати ящик від приймача типу УС-3. Розташування основних деталей видно на рис. 2.
На лицьовій панелі зміцнюються міліамперметр, гнізда для антени, ручка регулятора гучності та налаштування передавача, мікрофонні гнізда, вимикач анодної напруги та індикатор увімкнення.
На горизонтальній панелі шасі розміщуються всі лампи, котушка, модуляційний трансформатор та електролітичний конденсатор С10. На рис. 2 показано, крім того, антенне реле, яке не є обов'язковим та на принциповій схемі не показано.

Мал. 2. Загальний вигляд передавача.
Налагодження
Налагодження передавача слід розпочати з перевірки роботи модулятора. Для цього замість модуляційного трансформатора включають звичайний вихідний трансформатор та гучномовець; на вхід підсилювача подають напругу зі звукознімача і досягають гучного та чистого звучання.
Якість звуку залежить від величин опорів R2 і R4, які, можливо, в ході налагодження потрібно змінити (що більше R2 і R4, тим чистіше, але слабкіше звук). Гучність звуку залежить від анодних навантажень і напруг на анодах та сітці, що екранує.
Генератор особливого налагодження не потребує. Розтягуванням битків котушки L2 встановлюється необхідний діапазон, а зміною опору R1 і ємності конденсатора С3 отримують максимальну потужність коливання в контурі.
Шляхом зміни відстані між котушками та за допомогою підстроювального конденсатора С1 домагаються найбільшої віддачі в антену. При напрузі 300 лампа віддає в антену потужність не менше 8 вт.
В. Шіш.
У Римі під час пам'ятних заходів напали на людей з українськими прапорами: є постраждалі (відео)
Любовний чотирикутник з ілюзією: прем'єра вистави «Щасливий шлюб» на миколаївській сцені (фото, відео)
У Миколаївському театрі відбулася прес-конференція, присвячена виставі «Щасливий шлюб» (фото)
Мотоцикл врізався в «Теслу»: у центрі Миколаєва автомобільний затор
Вибух у багатоповерхівці Миколаєва: що розповіли очевидці (відео)
У центрі Миколаєва автомобільний затор через ремонт дороги: відео з місця
ТЦК у Харкові підозрюють у тортурах та викраденні людей: у ДБР показали відео та розкрили деталі справи
В Україні ліквідували наркомережу «Хімпром»: сотні обшуків, вилучені мільйони та підозри учасникам
Найкращі бійці зійшлися в чемпіонаті Миколаївської області з ММА – бої були безкомпромісними (фото, відео)













